斗提機結構及工作原理廠家詳細剖析
	斗提機介紹
斗式提升機主要由牽引件、滾筒(或鏈輪)張緊裝置、加料和卸料裝置、驅動裝置和料斗等組成。在牽引件上裝置著一連串的小斗(稱料斗),隨牽引件向上移動,達到頂端后翻轉,將物料卸出。料斗常以背部(后壁)固接在牽引帶或鏈條上,雙鏈式斗式提升機有時也以料斗的側壁固接在鏈條上。
傾斜斗式提升機為了改變物料升送的高度,適應不同生產情況的需要,料斗槽中部有一可拆段,使提升機可以伸長也可以縮短。支架也是可以伸縮的,用螺釘固定。支架有垂直的和傾斜的,傾斜支架固定在槽體中部。有時為了移動方便,機架裝在活動輪子上。
	
	傾斜斗式提升機
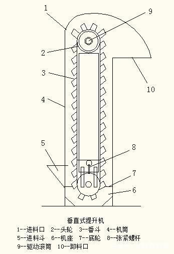
垂直斗式提升機主要由料斗、牽引帶(或鏈)、驅動裝置機殼和進、卸料口組成。工作時被輸送物料由進料口均勻喂入,在驅動滾筒的帶動下,固定在輸送帶上的料斗刮起物料后隨輸送帶一起上升,當上升至頂部驅動滾簡的上方時,料斗始翻轉,在離心力或重力的作用下,物料從卸料口卸出,送入下道工序。
	
	垂直式提升機
斗式提升機的主要構件有料斗和牽引件。料斗是提升機的盛料構件,根據運送物料的性質和提升機的結構特點,料斗可分為三種不同的形式,即圓柱形底的深斗、淺斗及尖角形斗。斗式提升機的牽引件可用膠帶和鏈條兩種,膠帶和帶式輸送機的相同。料斗用特種頭部的螺釘和彈性墊片固接在牽引帶上,帶寬比料斗的寬度大35~40mm。
	
	垂直式提升機
鏈條常用套筒鏈或套筒滾子鏈。當料斗的寬度較小(160~250mm)時,用一根鏈條固接在料斗的后壁上;料斗的寬度大時,用兩條鏈條固接在料斗兩邊的側板上,即借助于角鋼把料斗的側邊和外鏈板相連。牽引件的選擇,取決于提升機的生產率、升送高度和物料的特性。用膠帶作牽引件主要用于中小生產能力的工廠及中等提升高度,適合于體積和密度小的粉狀、小顆粒等物料的輸送。用鏈條作牽引件則適合于大生產率及升送高度大和較重物料的輸送。
	
	
	河南奧創斗式提升機結構圖紙繪畫、價格計算、廠家真機圖片展示,及到廠實地考察接待,歡迎實地考察!
訂購網址請登錄河南奧創機械有限公司官方網站:www.sxhkyq.com 24小時服務熱線:13353676726


